Wymiana lub montaż klamki do drzwi może wydawać się skomplikowanym zadaniem, ale zapewniam Cię, że z odpowiednimi wskazówkami i narzędziami poradzisz sobie z tym bez problemu. Ten praktyczny przewodnik krok po kroku przeprowadzi Cię przez cały proces od przygotowania, przez demontaż starej klamki, aż po precyzyjny montaż nowej, pomagając uniknąć typowych błędów i zapewniając jej długie i bezproblemowe działanie. Zaczynajmy!
Samodzielny montaż klamki do drzwi kompletny przewodnik krok po kroku
- Do montażu klamki potrzebujesz śrubokręta, miarki, ołówka, czasem klucza imbusowego.
- Ważne jest, aby dopasować klamkę do rozstawu zamka w drzwiach (najczęściej 72 mm lub 90 mm).
- Proces montażu obejmuje demontaż starej klamki, osadzenie trzpienia, montaż szyldów i rękojeści, a następnie dokręcenie śrub.
- Unikaj zbyt mocnego dokręcania śrub, co może zablokować mechanizm klamki.
- Klamka po zamontowaniu powinna samoczynnie wracać do pozycji poziomej.
- Wybierz klamkę odpowiednią do typu zamka (na klucz, wkładkę bębenkową, WC lub oszczędnościowy).
Kompletna lista narzędzi, które ułatwią Ci pracę
Zanim przystąpisz do pracy, upewnij się, że masz pod ręką wszystkie niezbędne narzędzia. Odpowiednie przygotowanie to klucz do sprawnego i bezproblemowego montażu. Oto co zazwyczaj będzie Ci potrzebne:
- Wkrętarka lub śrubokręt (najczęściej krzyżakowy, ale czasem płaski) to absolutna podstawa. Upewnij się, że masz odpowiednie końcówki.
- Miarka niezbędna do precyzyjnego zmierzenia rozstawu zamka i ewentualnego oznaczenia punktów montażowych.
- Ołówek do zaznaczania miejsc wiercenia lub montażu.
- Klucz imbusowy bardzo często dołączony jest do zestawu z nową klamką. Służy do dokręcania małych śrub dociskowych, które stabilizują rękojeści.
- Wiertarka z odpowiednimi wiertłami i otwornicą jeśli montujesz klamkę w zupełnie nowych drzwiach, które nie mają jeszcze wywierconych otworów. Pamiętaj, aby dobrać odpowiednią średnicę otwornicy do trzpienia klamki.
- Nóż tapicerski lub cienki śrubokręt przydatny do delikatnego podważania starych szyldów.
- Rękawiczki robocze dla ochrony dłoni i lepszego chwytu.
Szybkie sprawdzenie drzwi: Jak zmierzyć rozstaw zamka i uniknąć pomyłki?
Jednym z najważniejszych kroków przed zakupem i montażem nowej klamki jest prawidłowe zmierzenie rozstawu zamka. To odległość od osi obrotu trzpienia klamki (czyli środka kwadratowego otworu, w który wchodzi trzpień) do osi obrotu klucza lub wkładki bębenkowej. Dlaczego to tak ważne? Ponieważ klamki i zamki mają standardowe rozstawy, a niewłaściwy wybór sprawi, że nowa klamka po prostu nie będzie pasować do Twoich drzwi. W Polsce najczęściej spotykane rozstawy to 72 mm (standard dla drzwi wewnętrznych) lub 90 mm (często w drzwiach wejściowych lub starszych modelach). Zmierz tę odległość dokładnie miarką, a unikniesz niepotrzebnych problemów i dodatkowych wizyt w sklepie.
Klamka z szyldem długim czy dzielonym? Którą wybrać do Twoich drzwi?
Wybór między klamką z szyldem długim a dzielonym to często kwestia estetyki i funkcjonalności. Klamki z szyldem długim charakteryzują się jednolitą płytką, która obejmuje zarówno otwór na trzpień klamki, jak i otwór na klucz lub wkładkę. Są to klasyczne rozwiązania, często spotykane w tradycyjnych wnętrzach. Z kolei klamki z szyldem dzielonym, znane również jako rozety, składają się z dwóch oddzielnych elementów: jednej rozety dla klamki i drugiej dla zamka. Ten typ jest obecnie znacznie popularniejszy w Polsce. Dlaczego? Uchodzą za bardziej nowoczesne i uniwersalne, ponieważ pozwalają na większą swobodę w aranżacji i łatwiej dopasować je do różnych stylów drzwi wewnętrznych. Osobiście uważam, że rozety dają bardziej minimalistyczny i elegancki wygląd, a także są łatwiejsze w montażu, jeśli otwory w drzwiach nie są idealnie równe.

Demontaż starej klamki: przewodnik krok po kroku
Zanim zamontujesz nową klamkę, musisz pozbyć się starej. To zazwyczaj prostsze, niż myślisz, ale wymaga nieco uwagi, aby nie uszkodzić drzwi.
Jak bezpiecznie odkręcić stare śruby i zdjąć szyld bez uszkodzenia drzwi?
Oto jak krok po kroku bezpiecznie zdemontować starą klamkę:
- Zlokalizuj śruby mocujące: Zazwyczaj znajdują się one po jednej stronie drzwi, na szyldzie lub rozecie. Mogą być widoczne od razu lub ukryte pod ozdobnymi zaślepkami, które trzeba delikatnie podważyć cienkim śrubokrętem.
- Odkręć śruby mocujące: Użyj odpowiedniego śrubokręta (najczęściej krzyżakowego) i ostrożnie odkręć wszystkie śruby. Trzymaj klamkę stabilnie, aby nie spadła po odkręceniu.
- Zdejmij rękojeści: Po odkręceniu śrub, rękojeści klamek powinny dać się łatwo zdjąć z trzpienia. Czasem trzeba je lekko pociągnąć lub pokręcić.
- Usuń szyldy/rozety: Gdy rękojeści są zdjęte, możesz usunąć szyldy lub rozety. Jeśli są przyklejone lub mocno przylegają do drzwi, delikatnie podważ je nożem tapicerskim lub cienkim śrubokrętem, zaczynając od krawędzi. Staraj się nie porysować powierzchni drzwi.
- Wyciągnij trzpień: Na koniec wyciągnij kwadratowy trzpień, który przechodzi przez mechanizm zamka. Czasem może być lekko zardzewiały lub zablokowany, ale zazwyczaj wychodzi bez większego oporu.
Co zrobić, gdy klamka stawia opór? Sprawdzone sposoby na zablokowane mechanizmy
Zdarza się, że stara klamka nie chce współpracować. Jeśli jest zardzewiała, zablokowana lub po prostu stawia opór, nie panikuj. Przede wszystkim nie używaj nadmiernej siły, aby nie uszkodzić drzwi. Spróbuj następujących metod:
- Użyj penetratora rdzy: Jeśli śruby są zardzewiałe, spryskaj je specjalnym preparatem (np. WD-40) i poczekaj kilka minut. Powinno to ułatwić ich odkręcenie.
- Delikatne stukanie: Jeśli szyld mocno przylega, możesz spróbować delikatnie postukać w jego krawędzie gumowym młotkiem lub rączką śrubokręta. Czasem wystarczy to, aby poluzować zablokowane elementy.
- Podważanie: Jeśli rękojeść nie chce zejść, delikatnie podważ ją płaskim śrubokrętem, jednocześnie próbując ją obracać i ciągnąć.
- Sprawdź ukryte śruby: Czasem klamki mają dodatkowe, małe śruby imbusowe, które blokują rękojeść na trzpieniu. Upewnij się, że wszystkie są odkręcone.
Pamiętaj, aby działać cierpliwie i metodycznie. Większość problemów da się rozwiązać bez uszkadzania drzwi.

Montaż nowej klamki: szczegółowy przewodnik dla każdego
Gdy stara klamka jest już zdemontowana, możemy przystąpić do montażu nowej. To moment, w którym precyzja i cierpliwość są kluczowe. Postępuj zgodnie z poniższymi krokami, a Twoja klamka będzie działać idealnie.
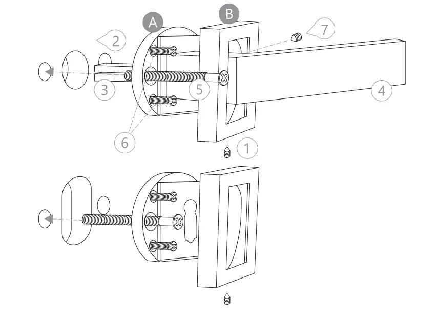
Krok 1: Prawidłowe osadzenie trzpienia fundament stabilnej klamki
Pierwszym i bardzo ważnym krokiem jest prawidłowe osadzenie trzpienia łączącego. Trzpień to kwadratowy pręt, który przechodzi przez mechanizm zamka w drzwiach i łączy obie rękojeści klamki. Upewnij się, że trzpień jest idealnie wycentrowany w otworze zamka i przechodzi przez niego płynnie. Jeśli jest zbyt długi, możesz go delikatnie skrócić (niektóre trzpienie mają nacięcia ułatwiające to zadanie). Jego rola jest fundamentalna to on przenosi ruch z rękojeści na mechanizm zamka, dlatego musi być osadzony stabilnie i bez luzów, ale jednocześnie bez oporów.
Krok 2: Montaż szyldów lub rozet jak zachować idealny poziom?
Po osadzeniu trzpienia czas na montaż szyldów lub rozet. Niezależnie od tego, czy masz klamkę z szyldem długim, czy dzielonym, kluczowe jest zachowanie idealnego poziomu i symetrii. Przyłóż szyldy do drzwi, tak aby otwory montażowe pokrywały się z otworami w skrzydle drzwiowym. Jeśli montujesz klamkę z rozetami, najpierw zamontuj rozetę klamki, a następnie rozetę zamka. Upewnij się, że są one równo rozmieszczone i proste. Możesz użyć poziomicy, aby sprawdzić, czy szyldy są idealnie poziomo lub pionowo. Następnie przykręć je do skrzydła drzwiowego za pomocą śrub, które zazwyczaj przechodzą na wylot przez drzwi i łączą oba szyldy. Dokręcaj śruby równomiernie, ale jeszcze nie na maksa zrobimy to w kolejnym kroku.
Krok 3: Zakładanie rękojeści i dokręcanie śrub dociskowych (imbusowych)
Teraz możesz nasadzić rękojeści klamek na wystające końcówki trzpienia. Wsuń je na trzpień, upewniając się, że są dobrze osadzone. Większość nowoczesnych klamek ma małe śruby dociskowe (zazwyczaj imbusowe), które stabilizują rękojeści na trzpieniu. Zlokalizuj te śruby (często znajdują się od spodu rękojeści) i dokręć je za pomocą dołączonego klucza imbusowego. Pamiętaj, aby dokręcić je na tyle mocno, by rękojeść była stabilna i nie miała luzów, ale nie za mocno, aby nie zablokować mechanizmu. Zbyt mocne dokręcenie może spowodować, że klamka będzie stawiać opór lub nie będzie wracać do pozycji poziomej.
Krok 4: Finalny test sprawdź, czy klamka działa płynnie i wraca na swoje miejsce
Po zakończeniu montażu nadszedł czas na najważniejszy etap finalny test. Chwyć klamkę i kilkakrotnie ją naciśnij, a następnie puść. Zwróć uwagę na kilka kluczowych aspektów:
- Płynność działania: Klamka powinna poruszać się swobodnie, bez zacięć i nadmiernego oporu.
- Powrót do pozycji poziomej: Po zwolnieniu nacisku, klamka musi samoczynnie i energicznie wrócić do swojej pierwotnej, poziomej pozycji. To kluczowy wskaźnik prawidłowego montażu. Jeśli opada lub wraca powoli, coś jest nie tak (prawdopodobnie zbyt mocno dokręcone śruby lub źle osadzony trzpień).
- Działanie zamka: Sprawdź, czy mechanizm zamka (rygiel) reaguje prawidłowo na ruch klamki. Jeśli klamka jest z zamkiem na klucz lub wkładkę, przetestuj również jego działanie.
Jeśli wszystko działa płynnie i klamka wraca na swoje miejsce, gratuluję montaż zakończony sukcesem!
Klamki do łazienki i pokoju: czym różni się ich montaż?
Chociaż podstawowe zasady montażu klamek są uniwersalne, istnieją pewne różnice w zależności od przeznaczenia drzwi i typu zamka. Warto o nich pamiętać.
Jak poprawnie zainstalować klamkę z blokadą WC (pokrętłem)?
Montaż klamki z blokadą WC (czyli z pokrętłem od wewnątrz i awaryjnym otwieraniem od zewnątrz) jest bardzo podobny do standardowego, ale wymaga dodatkowej uwagi przy mechanizmie blokującym. W tym przypadku, oprócz trzpienia klamki, w zamku znajduje się również otwór na trzpień blokady. Upewnij się, że oba trzpienie są prawidłowo osadzone w odpowiednich otworach zamka. Po zamontowaniu szyldów i rękojeści, przetestuj działanie blokady pokrętło powinno swobodnie obracać się i blokować drzwi, a awaryjne otwieranie (np. za pomocą monety) powinno działać bez zarzutu. Zazwyczaj blokada WC działa na zasadzie prostego mechanizmu, który łatwo połączyć z zamkiem, jeśli tylko prawidłowo osadzi się trzpień.
Montaż klamki z zamkiem na klucz lub wkładkę bębenkową na co zwrócić uwagę?
W przypadku klamek z zamkiem na klucz zwykły (pokojowy) lub wkładkę bębenkową, najważniejsze jest prawidłowe dopasowanie wkładki lub klucza do mechanizmu zamka. Upewnij się, że wkładka ma odpowiednią długość i jest prawidłowo osadzona w zamku, a śruba mocująca wkładkę (zazwyczaj znajduje się na czole zamka) jest dobrze dokręcona. Po zamontowaniu klamki, przetestuj działanie zamka, wkładając i obracając klucz lub wkładkę. Powinno to odbywać się płynnie, bez zacięć. Jeśli klucz stawia opór, sprawdź, czy wkładka jest dobrze osadzona i czy nie jest zbyt mocno ściśnięta przez szyldy klamki.
Unikaj typowych błędów podczas montażu klamki
Nawet doświadczonym majsterkowiczom zdarzają się błędy. Oto najczęstsze problemy, na które warto zwrócić uwagę, aby Twój montaż przebiegł bezproblemowo.
Problem: Klamka opada i nie wraca do poziomu gdzie leży przyczyna?
Opadająca klamka, która nie wraca samoczynnie do pozycji poziomej, to jeden z najczęstszych problemów po montażu. Przyczyn może być kilka:
- Zbyt mocno dokręcone śruby: To najczęstsza przyczyna. Nadmierne dokręcenie śrub mocujących szyldy lub śrub dociskowych rękojeści może ściskać mechanizm zamka, uniemożliwiając mu swobodny powrót. Spróbuj delikatnie poluzować śruby i ponownie przetestować klamkę.
- Nieprawidłowo osadzony trzpień: Trzpień może być zbyt długi, krzywo osadzony lub zablokowany w mechanizmie zamka. Upewnij się, że swobodnie przechodzi przez zamek.
- Uszkodzony mechanizm zamka: Czasem problem leży w samym zamku sprężyna odpowiedzialna za powrót klamki mogła się zużyć lub uszkodzić. W takim przypadku konieczna będzie wymiana zamka.
Zawsze zaczynaj od sprawdzenia dokręcenia śrub, to najprostsza i najczęstsza przyczyna.
Zbyt mocne dokręcenie śrub: Dlaczego to szkodzi i jak znaleźć "złoty środek"?
Zbyt mocne dokręcanie śrub to błąd, który może prowadzić do wielu problemów. Po pierwsze, jak wspomniałem, może zablokować mechanizm klamki, uniemożliwiając jej swobodny ruch i powrót do pozycji poziomej. Po drugie, może uszkodzić powierzchnię drzwi, wgnieść okleinę lub nawet pęknąć drewno. Po trzecie, może zdeformować same elementy klamki, prowadząc do jej szybszego zużycia. "Złoty środek" polega na dokręcaniu śrub na tyle mocno, aby klamka była stabilna i nie miała luzów, ale jednocześnie działała płynnie. Gdy poczujesz opór, dokręć jeszcze tylko odrobinę, a następnie przetestuj klamkę. Jeśli działa prawidłowo, to jest to odpowiedni moment, aby przestać dokręcać.
Jak uniknąć porysowania drzwi podczas pracy? Proste triki zabezpieczające
Nikt nie chce, aby podczas montażu klamki uszkodzić piękne drzwi. Oto kilka prostych trików, które pomogą Ci tego uniknąć:
- Użyj taśmy malarskiej: Przed rozpoczęciem pracy obklej obszar wokół klamki taśmą malarską. Stworzy to barierę ochronną przed przypadkowymi zarysowaniami narzędziami.
- Podkładki ochronne: Jeśli musisz podważyć szyld, użyj cienkiej, miękkiej podkładki (np. kawałka filcu lub tektury) pod narzędziem, aby nie stykało się ono bezpośrednio z powierzchnią drzwi.
- Ostrożność z narzędziami: Zawsze pracuj ostrożnie i powoli. Unikaj gwałtownych ruchów narzędziami, zwłaszcza wkrętarką, która może łatwo ześlizgnąć się i porysować drzwi.
- Czyste ręce: Upewnij się, że Twoje ręce są czyste i wolne od smarów czy brudu, który mógłby zostawić ślady na drzwiach.
Pielęgnacja klamek: jak dbać o nie, by służyły długie lata?
Prawidłowy montaż to jedno, ale regularna pielęgnacja to klucz do długowieczności Twoich klamek. Różne materiały wymagają różnych metod czyszczenia.
Czym czyścić klamki w zależności od materiału (stal, mosiądz, czarny mat)?
Wybór odpowiedniego środka czyszczącego jest kluczowy, aby nie uszkodzić powierzchni klamki:
| Materiał klamki | Zalecenia dotyczące czyszczenia |
|---|---|
| Stal nierdzewna / Aluminium | Czyścić miękką, wilgotną szmatką z delikatnym detergentem (np. płynem do naczyń). Unikać środków ściernych i silnych chemikaliów. Wysuszyć do sucha, aby uniknąć zacieków. |
| Mosiądz (polerowany) | Wymaga specjalnych preparatów do czyszczenia mosiądzu, które przywracają mu blask. Można również użyć domowych sposobów (np. pasta z sody oczyszczonej i cytryny), ale zawsze najpierw przetestować na niewidocznym fragmencie. |
| Mosiądz (szczotkowany) | Podobnie jak polerowany, ale z większą ostrożnością, aby nie zatrzeć szczotkowanej struktury. Delikatne środki do mosiądzu lub miękka szmatka z wodą i mydłem. |
| ZnAl (stop cynku z aluminium) | Czyścić miękką szmatką i łagodnym detergentem. Podobnie jak w przypadku stali nierdzewnej, unikać ostrych środków. |
| Czarny mat / Inne powłoki lakierowane | Najdelikatniejsze czyszczenie: miękka, lekko wilgotna szmatka. Absolutnie unikać wszelkich środków ściernych, rozpuszczalników i silnych detergentów, które mogą uszkodzić matową powłokę. |
Przeczytaj również: Ile trwa montaż drzwi wewnętrznych? Czas, etapy i pułapki!
Regularna konserwacja: Kiedy i jak smarować mechanizm zamka?
Regularna konserwacja mechanizmu zamka jest równie ważna jak czyszczenie samej klamki. Zalecam smarowanie zamka raz na 6-12 miesięcy, w zależności od intensywności użytkowania drzwi. Do tego celu najlepiej użyć specjalnego smaru do zamków (np. w sprayu, na bazie teflonu lub silikonu), który nie przyciąga kurzu i brudu. Unikaj smarów na bazie oleju, które mogą z czasem gęstnieć i zbierać zanieczyszczenia. Wprowadź niewielką ilość smaru do otworu na klucz oraz do mechanizmu zamka (jeśli masz dostęp po zdjęciu klamki). Następnie kilkakrotnie przekręć kluczem lub poruszaj klamką, aby smar równomiernie rozprowadził się wewnątrz. Dzięki temu zamek będzie działał płynnie, a klamka będzie służyć Ci bezawaryjnie przez długie lata.
